小程序
小游戏
企业微信
微信支付
扫描小程序码分享
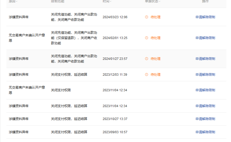
如图,求大神指点,也求官方指点,注册视频号小店后一天没用过,当时就不让注销商户号,现在拖到各种异常,求帮忙。
1 个回答
加粗
标红
插入代码
插入链接
插入图片
上传视频
如果店铺已经注销了,商户号也可以去注销的,可以拨打95017联系客服处理
你好,麻烦通过点击下方“反馈信息”按钮,提供出现问题的。
关注后,可在微信内接收相应的重要提醒。
请使用微信扫描二维码关注 “微信开放社区” 公众号
如果店铺已经注销了,商户号也可以去注销的,可以拨打95017联系客服处理