收藏
回答

为什么无法开通直播功能?提示90天内无支付行为。




appId: wx8553ef982fe44579

回答关注问题邀请回答
收藏

4 个回答

  • 灵芝
    灵芝
    2020-03-12

    你好,核实wx8553ef982fe44579已经可以开通,请重试一下。

    2020-03-12
    有用 1
    回复 4
  • 陈杰
    陈杰
    2020-03-10

    今天还是不行,都已经六天了。

    2020-03-10
    有用 1
    回复
  • 邢先生
    邢先生
    2023-05-24

    AppId:wxa0ff120486b75f21

    我们申请小程序直接功能时,提示近90天无支付行为,但我们的小程序实际上都有支付流水;

    2023-05-24
    有用
    回复
  • 佛山市悦阁网络科技有限公司
    佛山市悦阁网络科技有限公司
    2020-03-09

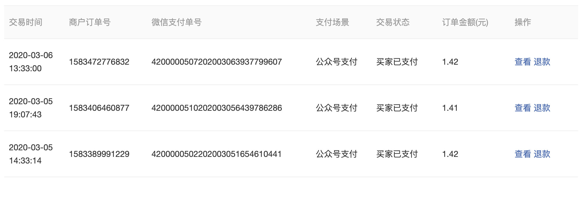
    您那显示的是公众号支付吧

    2020-03-09
    有用
    回复 3
    • 陈杰
      陈杰
      2020-03-09
      是在小程序里支付的,但是查询显示类型是公众号支付。trade_type都是 JSAPI。
      2020-03-09
      回复
    • 轩楠¹⁶⁶⁰⁸²⁶⁶⁶²⁸
      轩楠¹⁶⁶⁰⁸²⁶⁶⁶²⁸
      2020-03-11回复陈杰
      我也是这样,发帖几天技术也不回复一下
      2020-03-11
      1
      回复
    • 陈杰
      陈杰
      2020-03-11回复轩楠¹⁶⁶⁰⁸²⁶⁶⁶²⁸
      一礼拜了也没有回复下,哎~ 开个号测试开发都 不行。
      2020-03-11
      回复
登录 后发表内容
问题标签