收藏
回答

微信支付通知延迟严重


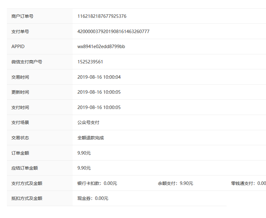
顾客支付的时间是10:00:05


而支付成功的通知最早一次接受到是10:07 差了近7分钟

当然也有可能是我的服务器请求过多被阻塞了 但是不可能被阻塞7分多钟吧

还有问下大家这种情况如今处理 因为我是订单创建之后超过5分钟不支付就认为是超时订单 所以带来影响

但是及时我把这个时间设长 但是因为我的支付场景在线下 如果长时间没有到账对顾客的体验也是不好的 因为明明顾客付了钱 但是此时商家却没有收到钱

回答关注问题邀请回答
收藏

4 个回答

  • LuckyQueen安
    LuckyQueen安
    2020-07-01

    微信快倒闭了吧,都没人出来解决, 我们这边基本上都把爱微信下架了。用银联 了.

    付个款都快过年了,还没播报,买家都走几公里了。才报

    2020-07-01
    有用
    回复
  • 相视无语
    相视无语
    2019-11-20

    同问,近期频繁出现支付成功的通知延迟问题,业务受到影响。

    2019-11-20
    有用
    回复 1
    • 水表歌迷
      水表歌迷
      2019-11-21
      可以主动去微信那拉去订单信息来更新订单状态
      2019-11-21
      1
      回复
  • 微信支付技术助手1
    微信支付技术助手1
    2019-08-16

    您好

    如果商户网络异常或服务器负载接收支付结果通知延迟较大,可以先使用查询订单接口来确认订单状态。


    2019-08-16
    有用
    回复 2
    • 水表歌迷
      水表歌迷
      2019-08-16
      我是不是可以理解为大概率是我的服务器或者网络产生了延迟 微信的通知服务绝对是不会延迟的?包括在双11这种节点
      2019-08-16
      回复
    • 水表歌迷
      水表歌迷
      2019-08-16
      如果说微信也是有可能因为负载的问题导致通知延迟,那我就修改业务,如果微信绝对不会产生延迟,那我就增加我的服务器负载能力。
      2019-08-16
      1
      回复
  • 水表歌迷
    水表歌迷
    2019-08-16

    官方能解答一下吗 今天有两个支付时间是10点的订单都出了这个问题  

    2019-08-16
    有用
    回复
登录 后发表内容