收藏
回答

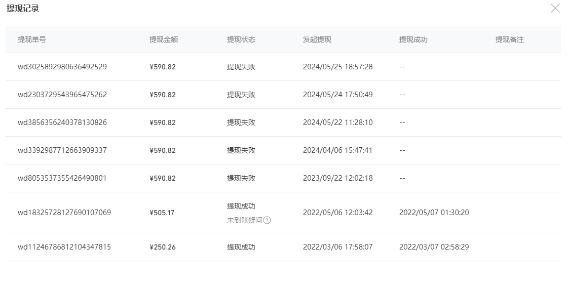
个人版微信小商店不能体现,也就导致不能注销

我的微信小商店,是个人版。现在想注销,但是发现,提现总不成功。银行卡设置没有问题。

回答关注问题邀请回答
收藏

2 个回答

  • 专业卖杨梅一百年
    专业卖杨梅一百年
    2024-07-04

    我也是

    2024-07-04
    有用
    回复
  • 曾文琪
    曾文琪
    发表于移动端
    2024-07-01
    我的问题和你一样的,不知道怎么弄找谁解决都找不到人的
    2024-07-01
    有用
    回复
登录 后发表内容