小程序
小游戏
企业微信
微信支付
扫描小程序码分享
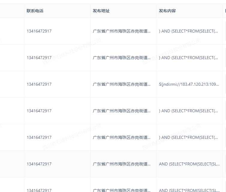
发现有大量的sql语句注入
Appid:wxaa03ccdaf8755961
2 个回答
加粗
标红
插入代码
插入链接
插入图片
上传视频
是的 我就说后台怎么突然间报错了 一查很多sql注入
你好,麻烦通过点击下方“反馈信息”按钮,提供出现问题的。
只有你提交代码审核的时候官方才会进行安全测试,公告:https://developers.weixin.qq.com/community/minihome/doc/0008ea401c89c02cff2d1345051001?blockType=99
关注后,可在微信内接收相应的重要提醒。
请使用微信扫描二维码关注 “微信开放社区” 公众号
是的 我就说后台怎么突然间报错了 一查很多sql注入
只有你提交代码审核的时候官方才会进行安全测试,公告:https://developers.weixin.qq.com/community/minihome/doc/0008ea401c89c02cff2d1345051001?blockType=99