收藏
回答

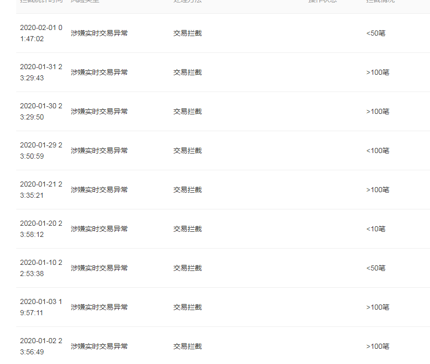
涉嫌实时交易异常

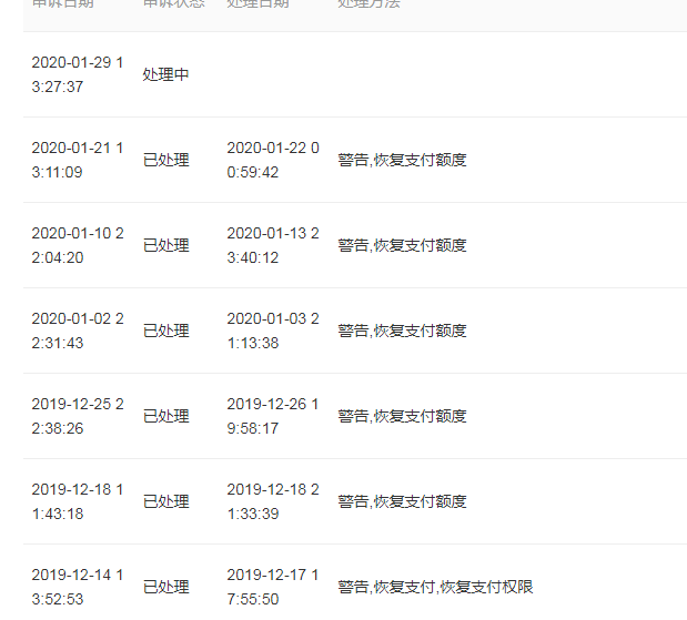
基本上一星期来一次这个涉嫌实时交易异常,我公司多次向贵公司提交相关资料。人工每次都是审核,可是治标不治本。就用个几天就出问题还得申诉

回答关注问题邀请回答
收藏

3 个回答

  • 微信支付小助手
    微信支付小助手
    2020-02-11

    商户/用户交易异常,导致前端拦截,可前往商户平台申诉,谢谢

    2020-02-11
    有用 1
    回复 2
    • 张朝
      张朝
      2020-07-10
      申诉了好几次,打客服也问了,一使用还是这样
      2020-07-10
      回复
    • 百喜
      百喜
      2020-09-22
      说了跟没说样
      2020-09-22
      回复
  • A0.发傲科技 雅凡Tel:15555557938
    A0.发傲科技 雅凡Tel:15555557938
    2021-01-13

    已经解决了.,我提交申诉的时候提交了相应的业务授权资质,已经不限制了!

    2021-01-13
    有用 1
    回复
  • 怎样共勉
    怎样共勉
    发表于移动端
    2020-07-23
    请问下提现受影响了吗?
    2020-07-23
    有用
    回复
登录 后发表内容
问题标签