收藏
回答

调用invokecloudfunction的时候提示-501007

框架类型 问题类型 终端类型 AppID 基础库版本
小程序 Bug 工具 wx243ba1a5ae302a75 v2.7.0

- 当前 Bug 的表现(可附上截图)


PostMan调用提示异常

{"errcode":-501007,"errmsg":"Invalid request param hint: [e7A1oA03262278]"}

- 预期表现

正确返回云函数结果

- 复现路径

调用云函数

- 提供一个最简复现 Demo

最后一次编辑于  2019-05-23
回答关注问题邀请回答
收藏

3 个回答

  • 骑白马的大师兄
    骑白马的大师兄
    2019-05-24

    我也是请求失败



    2019-05-24
    有用
    回复 1
    • MiaoWoo
      MiaoWoo
      2019-05-25

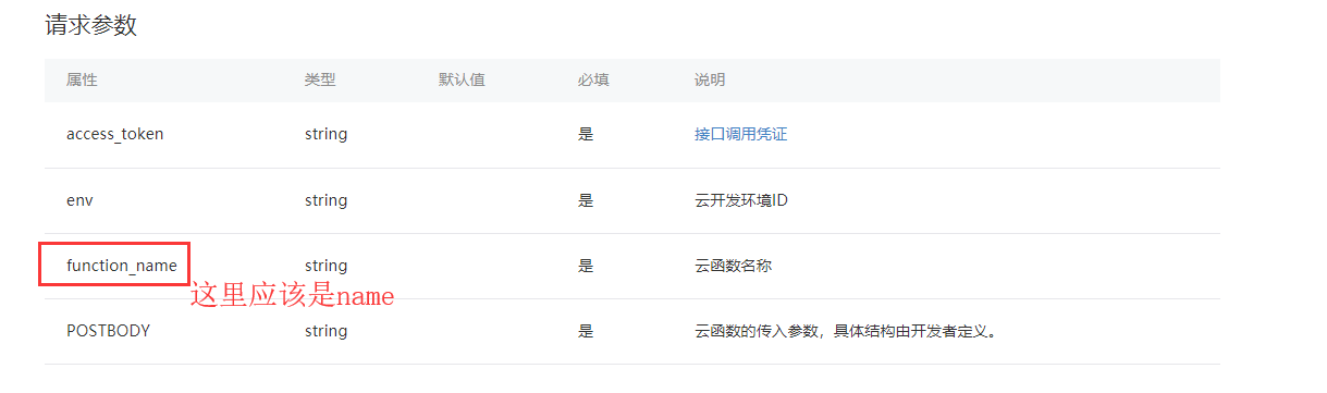
      你应该是参数名称传错了

      文档写的是function_name

      实际上应该是name

      你看我第一个评论

      2019-05-25
      回复
  • yunran
    yunran
    2019-05-23

    我测试也很奇怪,提交第一次是这样:



    第二次什么都没动,再按一次提交就有结果了:



    每次都这样

    2019-05-23
    有用
    回复 2
    • 2019-05-27

      这个接口POSTBODY应该传什么格式啊

      2019-05-27
      回复
    • yunran
      yunran
      2019-05-28

      string

      2019-05-28
      回复
  • MiaoWoo
    MiaoWoo
    2019-05-23

    文档说明有误


    2019-05-23
    有用
    回复 1
    • 吕小伟
      吕小伟
      2020-06-03
      我第一次使用这个,POSTBODY 我传递了一个JSON.stringify({a:1,b:2})这样一个值,我在云函数那边要怎么接收里面的参数呢,谢谢
      2020-06-03
      回复
登录 后发表内容