收藏
回答

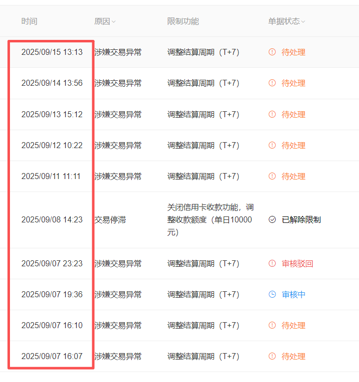
微信支付官方 疯狂限制服务商进件, 很多商户号都被搞成t+7结算?懒政!

微信支付官方 疯狂限制服务商进件, 很多商户号都被搞成t+7结算??为什么?

你们这样搞目的就是延长结算周期么? 所有都是交易异常 ?具体什么异常?

目前服务商进件也关闭了!

我们服务商有什么权限呀!?你们怎么考核标准呀!一刀切!懒政!!

回答关注问题邀请回答
收藏

4 个回答

  • 支付社区运营
    支付社区运营
    09-22

    你好,辛苦私信提供下帖子链接+商户号+超管电话/或结算账户后四位+联系电话,协助核实(被限制进件的服务商信息和风控子商户信息都可以发下)

    09-22
    有用
    回复
  • 南阳小程序公司18637777633
    南阳小程序公司18637777633
    12-08

    我公司也是的,啥都推给服务商,问题是客户的小程序不用了,服务商根本就没有解绑处理的工呢个,你直接封禁服务商进件,给你们发邮件,也不回复也不解决,也不管,太没有道理了!

    12-08
    有用
    回复
  • Jack-C
    Jack-C
    09-29

    违规商户不要进件:https://pay.weixin.qq.com/index.php/public/apply_sign/protocol_violation

    09-29
    有用
    回复
  • Memory (私信不回复)
    Memory (私信不回复)
    09-17

    风控系统识别到商户交易异常进行的风险管控,而不是为了延长你的交易周期而下发,你搞错了定义,服务商对于商户是需要尽到一定审查义务的,风险商户过多就会禁止进件,给你站内信也有下发说明和超管邮件下发说明的,如果超管邮件没有收到可以打 95017 联系客服重发

    09-17
    有用
    回复 8
    • 蒋刚💎8年小程序开发
      蒋刚💎8年小程序开发
      09-17
      风险商户过多就会禁止进件!!具体是多少?后台应该有标准呀!多少是多?具体什么标准应该公式便于我们知晓!谢谢。 服务商后台能本来就没办法提供资料!都是客户自己提供!客户的小程序可能很长时间不用了!做了小程序也不用  这个怎么处理呀!!麻烦你们还是灵活考虑实际情况! 如果要考核具体标准应该公式,我们权限应该给够!我们才好搞!还有就是比如几年前的客户的商户号都不用 也无法解绑!很多东西你们内部没搞好就把责任归咎服务商呀!!
      09-17
      回复
    • 蒋刚💎8年小程序开发
      蒋刚💎8年小程序开发
      09-17
      不能一句简单的“”“风控系统识别”把客户都搞成异常!我们最近很多客户都是正常交易 也没什么!你们都这样!而且最近才这样的!可能有问题嘛! 以前没这样频繁!
      如果你们内部要考核!要指标!要绩效!应该有规则。有规则我们应该配合肯定没问题的!只是太突然 太突然!
      09-17
      回复
    • Memory (私信不回复)
      Memory (私信不回复)
      09-17回复蒋刚💎8年小程序开发
      没有对外指标公开;服务商可以代子商户提交申诉;风控规则不对外
      09-17
      回复
    • 蒋刚💎8年小程序开发
      蒋刚💎8年小程序开发
      09-17回复Memory (私信不回复)
      不是风控规则! 是你们考核服务商服务的。客户的小程序都不用。 我们还去提交什么资料呀??涉嫌交易异常那种都是客户提交42开头商户号 或自己拍身份证。人家小程序都不用 还提交资料干嘛!!
      09-17
      回复
    • 蒋刚💎8年小程序开发
      蒋刚💎8年小程序开发
      09-17
      麻烦你看看  你们也实际了解一下


      客户不用小程序 我们这种可以申请解除 解除有什么意思呢??
      如果客户用小程序 不能支付  肯定找我们 我们都会协助他们让他们申请 或我们申请解除呀!!
      09-17
      回复
    查看更多(3)
登录 后发表内容