收藏
回答

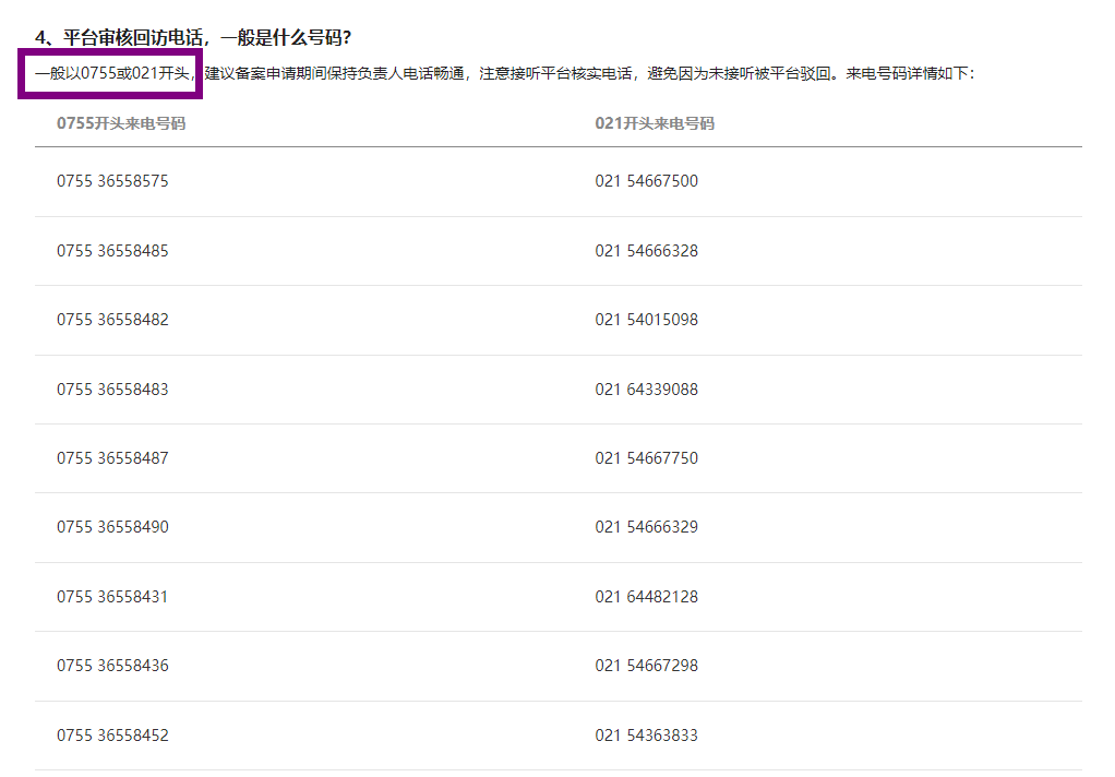
小程序备案审核不通过,显示电话打不通,为什么?

您好,微信小程序备案时,审核意见显示小程序备案负责人电话不通,但是我们小程序负责人没接到通知电话啊,然后审核意见说提供的手机号无效,备案三次了都显示无人接听电话,一直不通过

回答关注问题邀请回答
收藏

3 个回答

  • 社区运营专员-wetingtu
    社区运营专员-wetingtu
    2024-03-19

    你好,请核实备案时所填写的手机号码是否正确,若再次提交备案请留意接听电话,以免再次漏接导致驳回。

    2024-03-19
    有用
    回复 1
    • 路十八
      路十八
      04-20
      号码无误,修改了几次都是无人接听,换了号码也无人接听。根本就没有打。只会发短信说打不通一个小时候再打,然后每次都不打。
      04-20
      回复
  • 云洲
    云洲
    06-13

    后来怎么处理的?我也是同样的问题

    06-13
    有用
    回复
  • 风清雾散云开见日出
    风清雾散云开见日出
    2024-03-18

    1、用同事电话号码打一下备案的手机号码,看看是否可以打通电话,或者打电话给手机号码的运营商,说有电话漏接,咨询一下是否存在打不进来的电话;

    2、取消手机拦截功能,可能是平台回访电话被拦截了

    2024-03-18
    有用
    回复
登录 后发表内容