收藏
回答

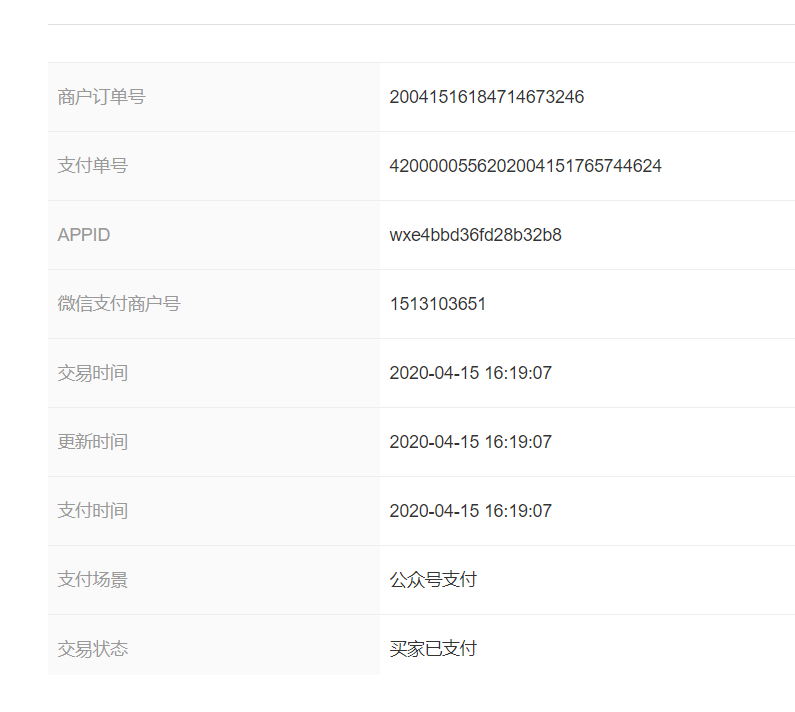
小程序4月15号已经存在支付行为,但是开通直播功能时依旧提示无支付行为?

小程序 appid:wxe4bbd36fd28b32b8

官方能帮忙看下原因吗?

最后一次编辑于  2020-04-27
回答关注问题邀请回答
收藏

2 个回答

  • 嗷呜一口
    嗷呜一口
    2020-04-28

    你好,经核实该小程序近90天无支付记录,请使用小程序支付。

    2020-04-28
    有用
    回复 7
    • rainbear
      rainbear
      2020-04-28
      我们确认过用的是小程序支付,用的公众号微信支付授权给小程序,主楼里截图第二张就是微信支付商户平台内的交易支付记录
      2020-04-28
      回复
    • 嗷呜一口
      嗷呜一口
      2020-04-28回复rainbear
      你好,请问截图中涉及到的公众号的主体名具体是什么,是否与小程序是同一个主体呢?
      2020-04-28
      回复
    • rainbear
      rainbear
      2020-04-28回复嗷呜一口
      是同一主体的:上海策令信息科技有限公司
      2020-04-28
      回复
    • rainbear
      rainbear
      2020-04-28回复嗷呜一口
      我们刚才又下了一单,您帮我们看看算不算,算的话我们就等T+2
      商户订单号:20042813383724253866
      支付单号:4200000556202004283017610571
      2020-04-28
      回复
    • 嗷呜一口
      嗷呜一口
      2020-04-28回复rainbear
      你好,小程序的支付商户号是否授权绑定了此小程序的appid?
      2020-04-28
      回复
    查看更多(2)
  • rainbear
    rainbear
    2020-04-28

    官方帮忙查下,谢谢

    2020-04-28
    有用
    回复
登录 后发表内容
问题标签