收藏
回答

小程序频繁报 Plugin "wxxxxx/0" is not defined.

框架类型 问题类型 API/组件名称 终端类型 微信版本 基础库版本
小程序 Bug requirePlugin.async 微信iOS客户端 8.0.34 2.31.0

问题描述:

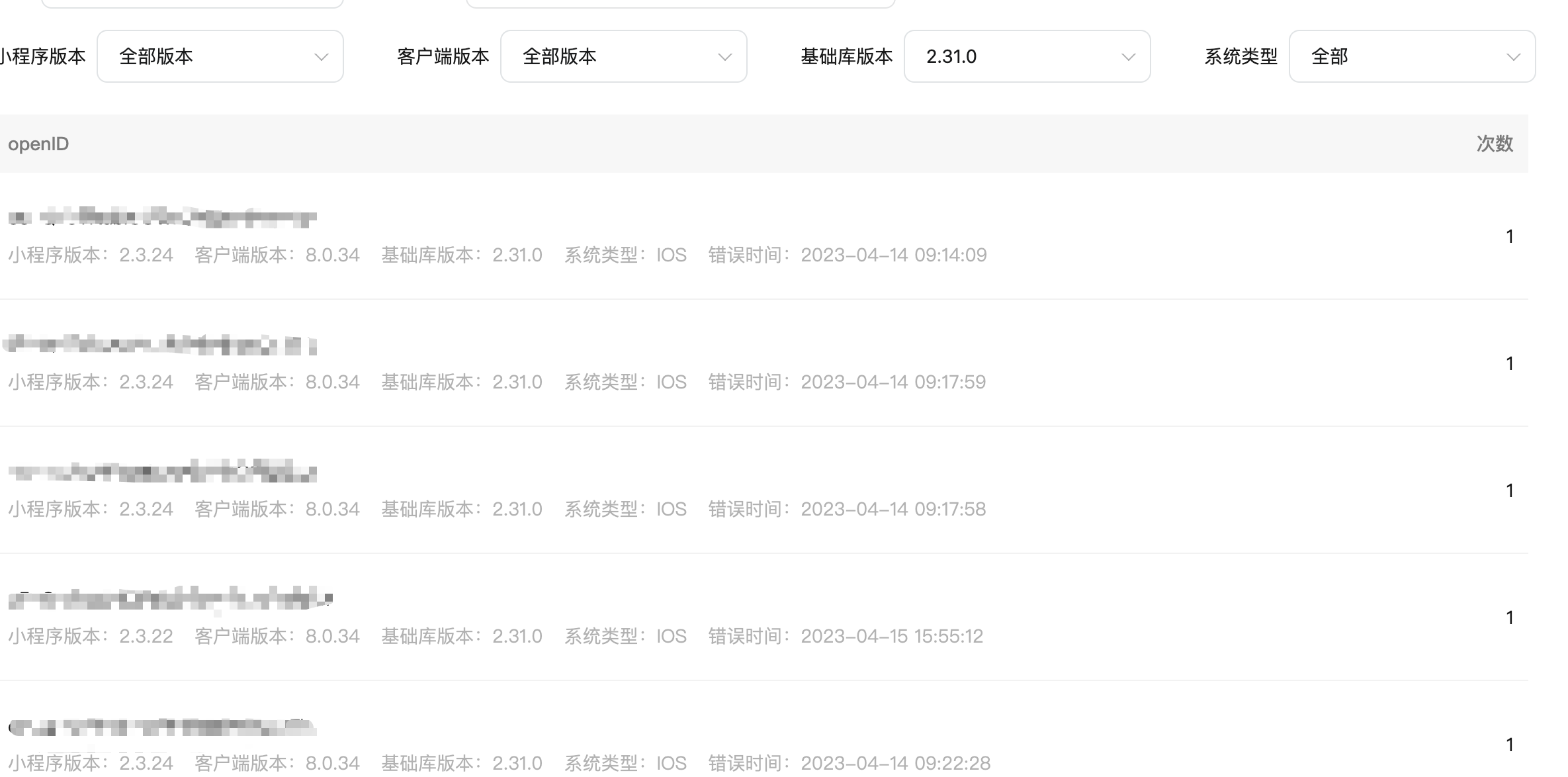
大概从 04.13 号开始,线上开始频繁收到 Plugin "wxb1xxxxxxxx/0" is not defined. 的错误,排查了代码里没有存在以 "/0" 结尾的插件,而且在这个时间之前都是零星几十个

我们代码里是使用 requirePlugin.async(module) 异步加载分包插件的

微信后台查看日志发现问题集中在 iOS 8.0.34 且基础库为 2.31.0 的微信客户端,猜测是否跟小程序基础库升级有关

麻烦看看,谢谢


回答关注问题邀请回答
收藏

1 个回答

  • 社区技术运营专员-Jahozheng
    社区技术运营专员-Jahozheng
    2023-04-17

    这个是加载的插件分包吗,可以提供下用户日志吗,


    手机微信日志上传步骤: 我->设置->帮助与反馈右上角有个上报日志的入口,选择复现日期进行上传


    上传完成麻烦提供一下 【微信号】【时间点】方便协助排查。

    麻烦也提供下出现问题的appid

    2023-04-17
    有用
    回复 8
    查看更多(3)
登录 后发表内容