小程序
小游戏
企业微信
微信支付
扫描小程序码分享
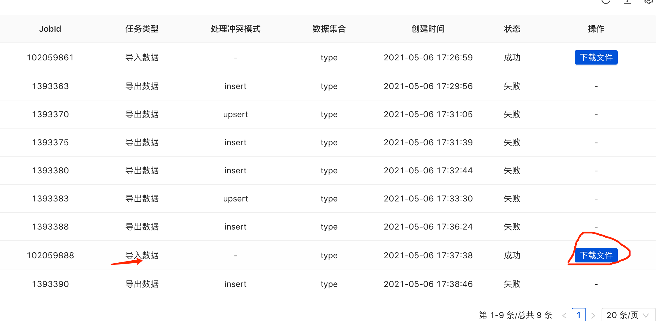
导出数据时显示的任务类型是“导入数据”,还有下载功能。导入的时候则相反,状态肯定是失败了。这个是属于啥情况? [旺财]
1 个回答
加粗
标红
插入代码
插入链接
插入图片
上传视频
这是一个 Bug,近期会修复
你好,麻烦通过点击下方“反馈信息”按钮,提供出现问题的。
关注后,可在微信内接收相应的重要提醒。
请使用微信扫描二维码关注 “微信开放社区” 公众号
这是一个 Bug,近期会修复