小程序
小游戏
企业微信
微信支付
扫描小程序码分享
公众号:晋江市商务局,ID:gh_405335434ebe
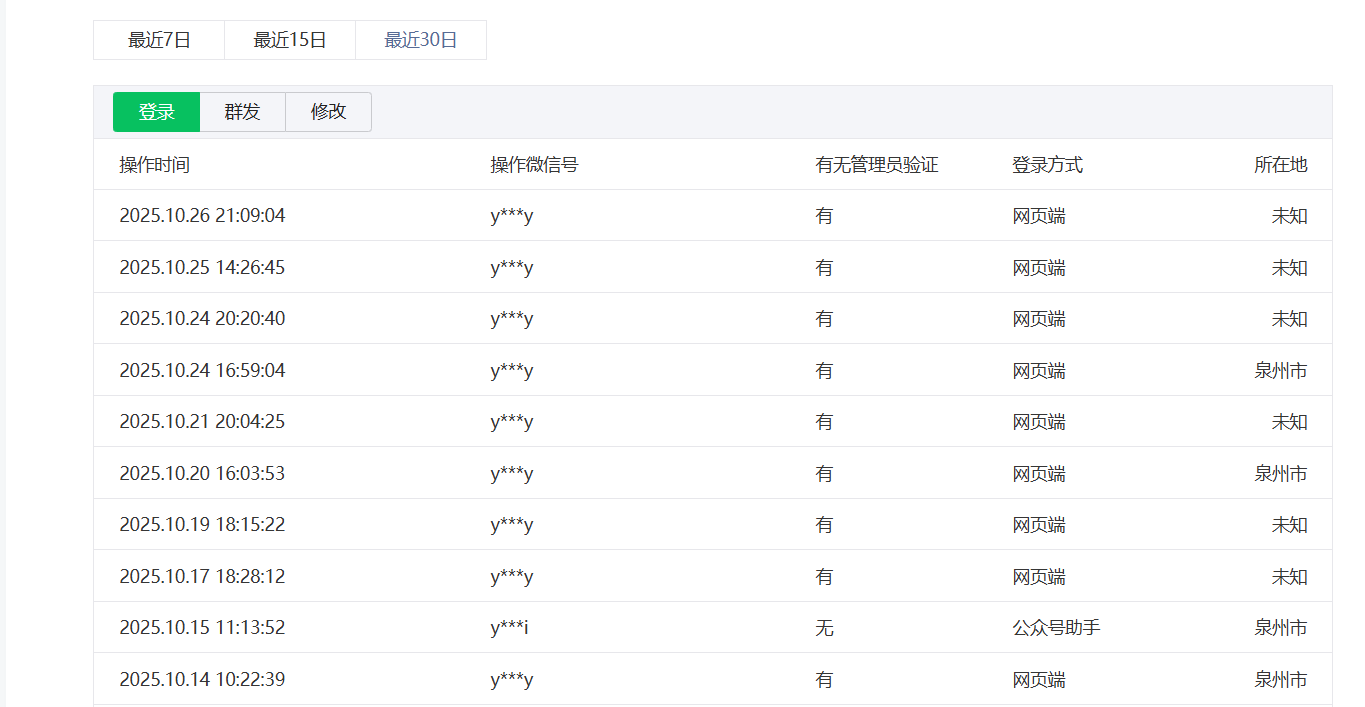
如图显示,公众号实际运营登录的地址都是福建泉州,显示的地址应该是福建泉州才对,为什么会显示到厦门呢?
这个如何修改过来?查了最近登录情况,一直都是在泉州地区登录的。
加粗
标红
插入代码
插入链接
插入图片
上传视频
关注后,可在微信内接收相应的重要提醒。
请使用微信扫描二维码关注 “微信开放社区” 公众号