收藏
回答

开通小程序直播,一直反馈 小程序近90天没有存在支付行为?


1、我们的appid 是 wx63cd4349aeea2f91

2、2020-03-30的时候 我们往里面打了几笔钱了

回答关注问题邀请回答
收藏

4 个回答

  • 陈顺国
    陈顺国
    2020-04-03

    要怎么 @ 官方人员来看一下

    这个贴发了一天了 ,官方人员都没来

    2020-04-03
    有用
    回复
  • Admin ²º²⁵
    Admin ²º²⁵
    2020-04-03

    谢邀:

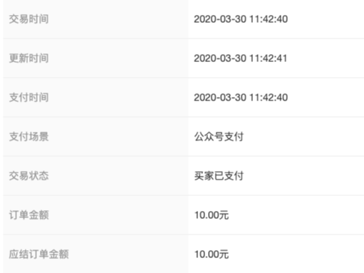
    小程序直播,请用小程序支付。不是公众号支付哈。

    看截图是公众号支付?

    2020-04-03
    有用
    回复 7
    • 陈顺国
      陈顺国
      2020-04-03
      不是   是用小程序支付的,这个是场景值 都是公众号的
      2020-04-03
      回复
    • Admin ²º²⁵
      Admin ²º²⁵
      2020-04-03回复陈顺国
      你确定是小程序里弹出支付,然后支付成功的?
      2020-04-03
      回复
    • 陈顺国
      陈顺国
      2020-04-03
      对 在小程序里面弹出了一个二维码,然后扫描二维码支付
      不过这个小程序是在本地的环境 不是线上版本的
      2020-04-03
      回复
    • Admin ²º²⁵
      Admin ²º²⁵
      2020-04-03回复陈顺国
      那不是小程序支付哦。要线上的小程序里直接弹原生支付页面,后端统一下单完成支付。
      2020-04-03
      回复
    • 陈顺国
      陈顺国
      2020-04-03
      明白了 我们再试一下
      2020-04-03
      回复
    查看更多(2)
  • 刘桐学说
    刘桐学说
    2020-04-02

    跟你的情况一样, 你的小程序发布没有?

    2020-04-02
    有用
    回复 2
    • 陈顺国
      陈顺国
      2020-04-02
      发布很多次了
      2020-04-02
      回复
    • 陈顺国
      陈顺国
      2020-04-02回复陈顺国
      发布过很多个版本了
      2020-04-02
      回复
  • 郑钱花
    郑钱花
    2020-04-02

    近90天没有存在支付行为的意思不是90天内有过支付行为

    而是要连续90天内有支付行为。

    你想错了,要是随便支付几笔都能开通直播。那么新注册的小程序就可以直播去了

    2020-04-02
    有用
    回复 4
登录 后发表内容
问题标签