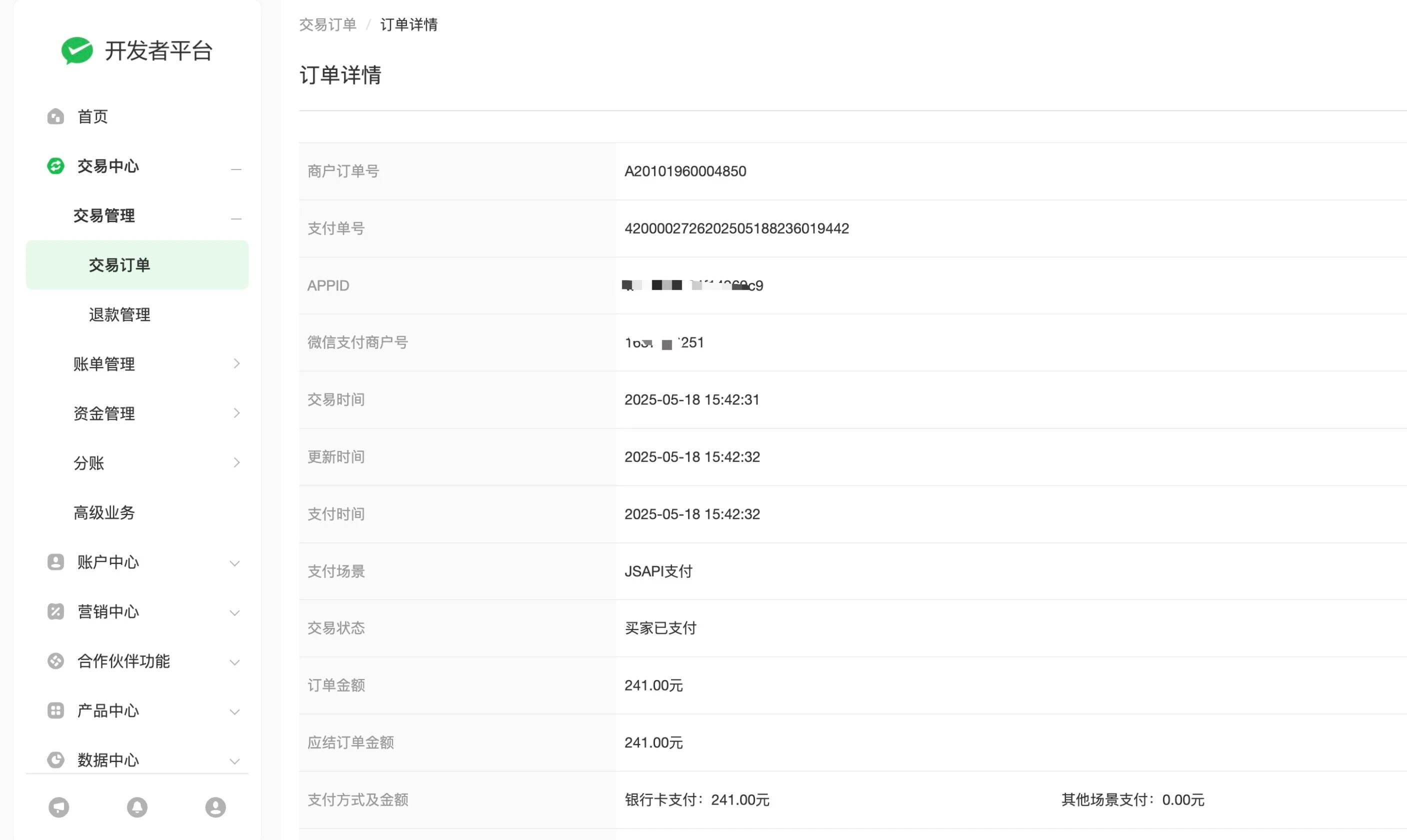
订单号:A20101960004850
支付单号:4200002726202505188236019442
在调用录入发货信息接口和获取发货信息接口时返回“支付单不存在”
系统log:param:WxGetOrderRq{TransactionId:4200002726202505188236019442, MerchantTradeNo:A20101960004850, }, WxBaseRs{ErrCode:10060001, ErrMsg:支付单不存在 rid: 6832e39a-036fed09-6ca7290e, }
但是我去微信支付开发者后台能查到用户已经支付了。截图如下:
这个问题很少见,去年遇到过一次,最近这几天又遇到了。不知道这种情况,资金能否给客户正常结算。
不光是调用API无法录入,在后台手动也不能录入。

请提供下appid,订单号和具体的操作时间,这边为您反馈核实定位问题
订单号:A20101960004850
操作时间:2025-05-25 17:34:10 000
后台log:
[2025-05-25 17:34:10 000] ERROR order-shipping/order_shipping.go:35 resp fail, WxBaseRs{ErrCode:10060001, ErrMsg:支付单不存在 rid: 6832e412-766b9eac-44e73856, }