小程序
小游戏
企业微信
微信支付
扫描小程序码分享
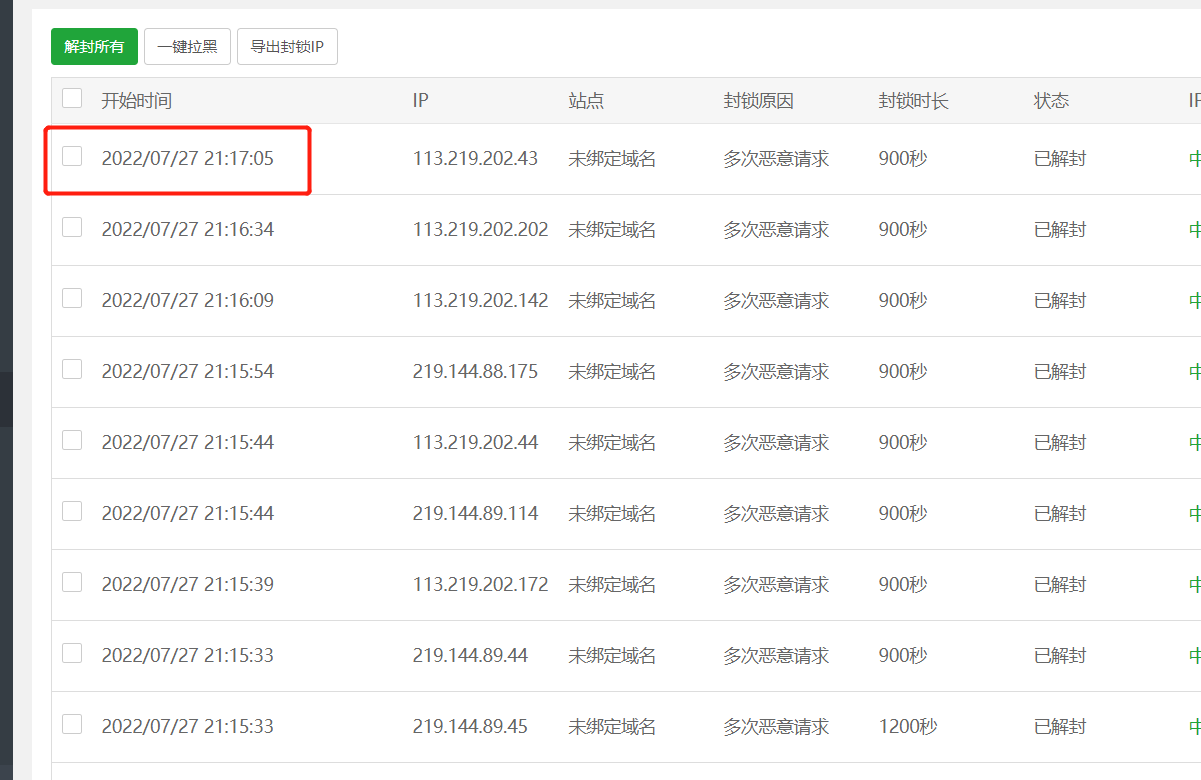
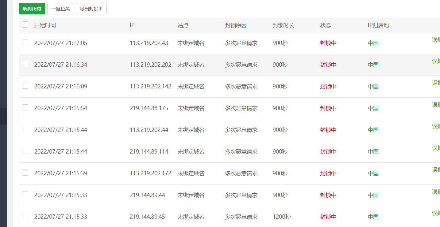
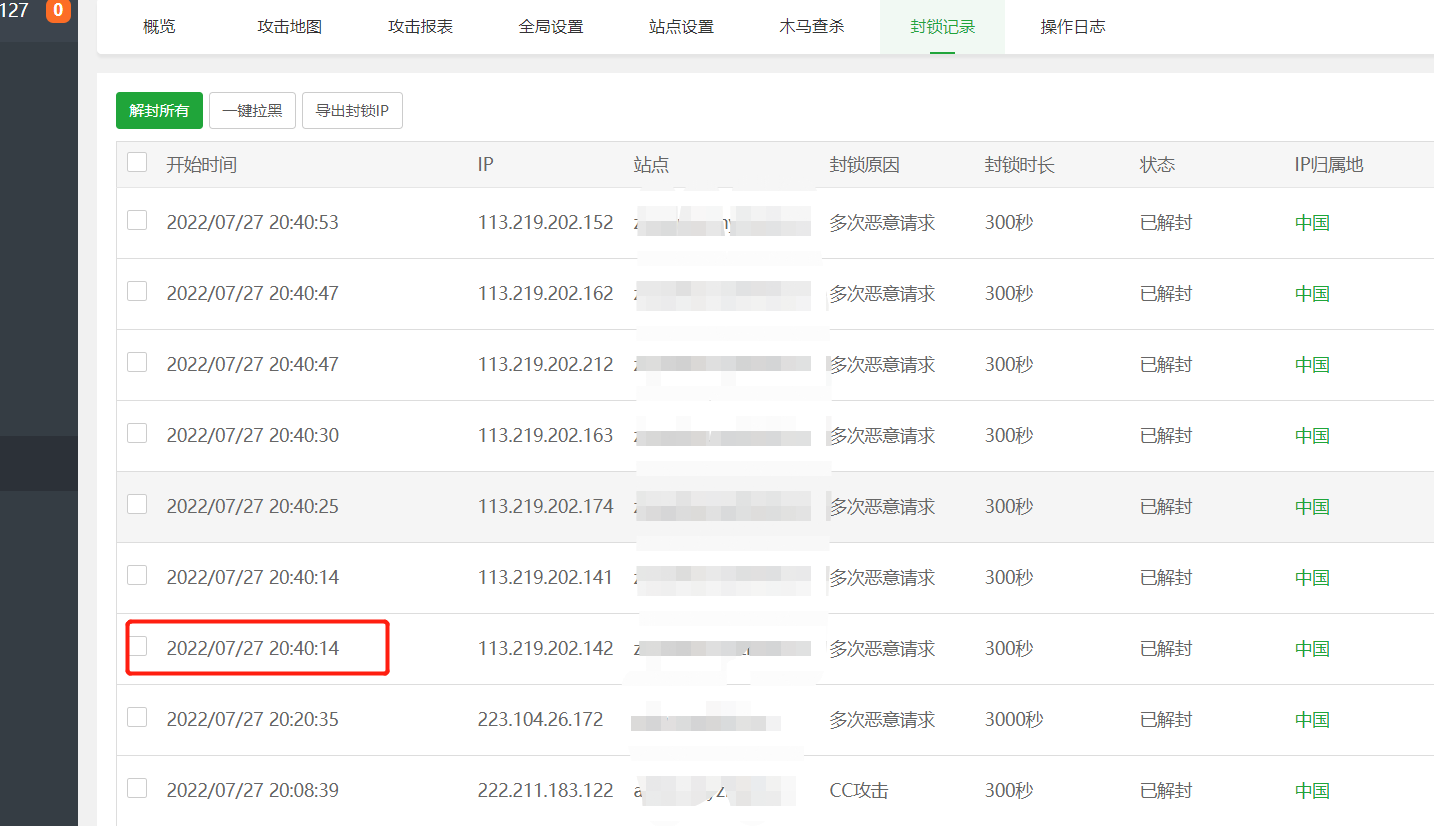
时间:8点40到9点20,时间长
攻击密度:非常密集
已经影响到了业务开展
3 个回答
加粗
标红
插入代码
插入链接
插入图片
上传视频
https://developers.weixin.qq.com/community/minihome/doc/0008ea401c89c02cff2d1345051001
你好,麻烦通过点击下方“反馈信息”按钮,提供出现问题的。
腾讯在对你的小程序后台进行安全检测,应该不会有太多请求啊。是不是你们阈值设太低了?
腾讯就算被攻击也不会影响你的宝塔吧
关注后,可在微信内接收相应的重要提醒。
请使用微信扫描二维码关注 “微信开放社区” 公众号
https://developers.weixin.qq.com/community/minihome/doc/0008ea401c89c02cff2d1345051001
腾讯在对你的小程序后台进行安全检测,应该不会有太多请求啊。是不是你们阈值设太低了?
腾讯就算被攻击也不会影响你的宝塔吧