收藏
回答

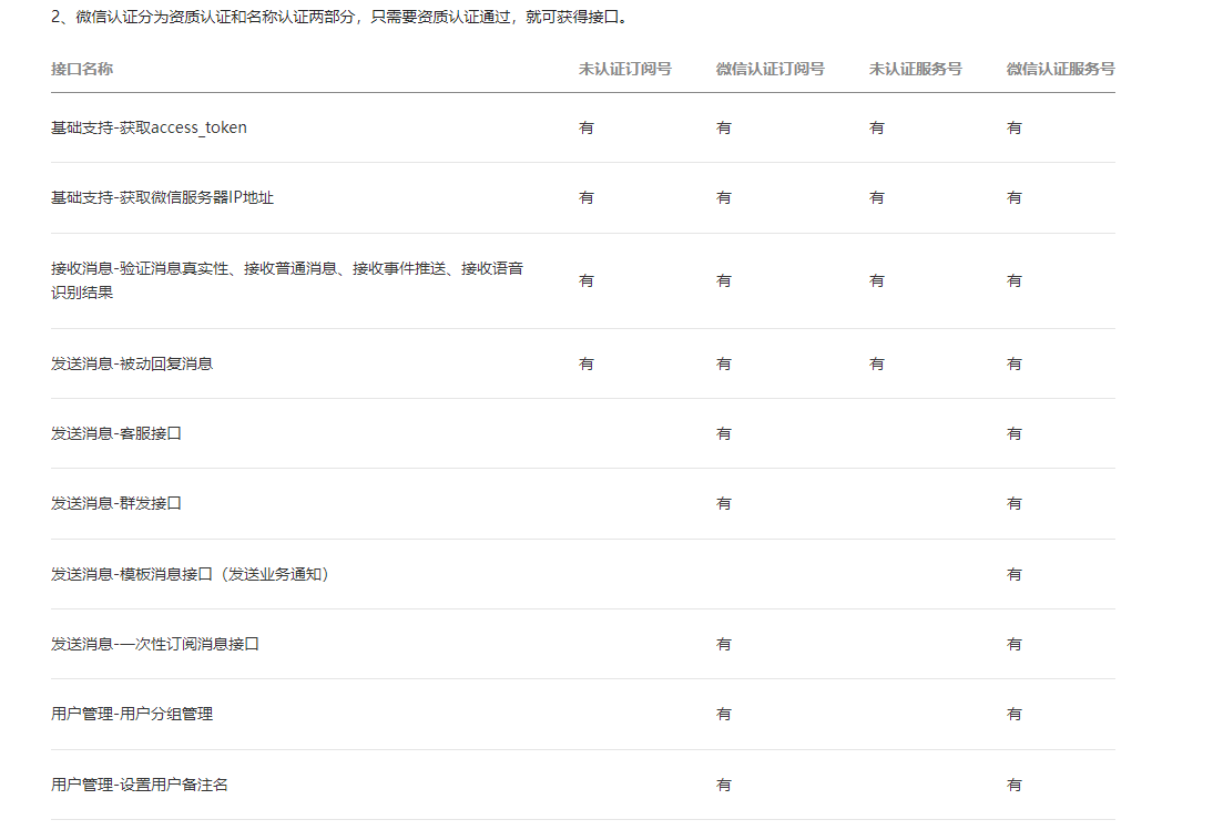
请问个人的订阅号进行个人认证能开通群发接口吗?

如题:请问个人的订阅号进行个人认证能开通群发接口吗?我看后台显示群发接口需要认证,没有写明是什么认证,个人认证能开通群发接口吗?

回答关注问题邀请回答
收藏

7 个回答

  • 🇪 🇱 🇸 🇪
    🇪 🇱 🇸 🇪
    2023-07-07

    不能!

    2023-07-07
    有用
    回复
  • ad-网络推广科技
    ad-网络推广科技
    发表于移动端
    2023-07-07
    哦谢谢大家的回答明白了
    2023-07-07
    有用
    回复
  • CRMEB
    CRMEB
    2023-07-07

    得弄个企业认证

    2023-07-07
    有用
    回复
  • 大熊
    大熊
    2023-07-07

    2023-07-07
    有用
    回复
  • Jianbo
    Jianbo
    2023-07-07

    不支持。需要企业主体认证。

    2023-07-07
    有用
    回复
  • Hlxuan.
    Hlxuan.
    发表于小程序端
    2023-07-07

    不能,需要的是微信认证。

    2023-07-07
    有用
    回复
  • 青寒
    青寒
    2023-07-07

    个人认证后,权限上面并没有多出什么,你还是不能这个接口的。

    2023-07-07
    有用
    回复
登录 后发表内容