收藏
回答

【物流助手】韵达快递接收不到运单轨迹更新通知,但运单实际已完成揽收并有轨迹更新

框架类型 问题类型 API/组件名称 终端类型 微信版本 基础库版本
小程序 Bug https://developers.weixin.qq.com/miniprogram/dev/OpenApiDoc/express/express-by-business/onPathUpdate.html 工具 全部 全部

物流助手 - 运单轨迹更新事件通知,所有韵达快递的运单 没有推送任何运单状态更新数据

同时有接入的极兔、京东等没有此问题

接口:https://developers.weixin.qq.com/miniprogram/dev/OpenApiDoc/express/express-by-business/onPathUpdate.html

示例单号:312930122919228

步骤:

  1. 通过物流助手创建韵达运单 - 成功
  2. 物流助手返回运单号 - 成功
  3. 快递完成揽收

期望结果:物流助手推送轨迹更新数据

实际结果:物流助手未推送轨迹更新数据

不知道是哪个地方有问题,请指教,感谢~


回答关注问题邀请回答
收藏

1 个回答

  • 智能回答 智能回答 本次回答由AI生成
    2025-12-06
    有用
    回复 2
    • Song
      Song
      2025-12-06
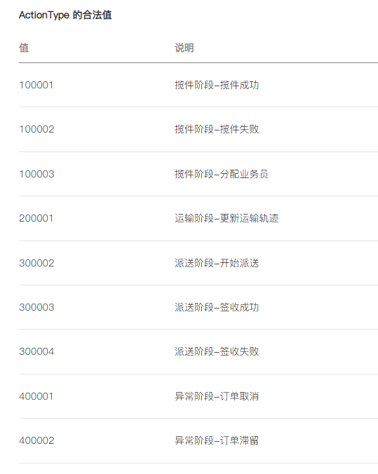
      此接口提供的服务为:当运单轨迹有符合如图的ActionType变更时,物流助手会主动向小程序配置好的数据接收地址返回运单轨迹的更新数据。


      当前的问题为:运单轨迹实际有更新,但是物流助手没有推送更新数据。


      所以并没有错误码、错误响应等,就是这个轨迹更新事件通知完全没有执行,小程序未接受到任何信息。


      小程序的原始ID:gh_4253e3c85fed
      2025-12-06
      回复
    • 智能回答 智能回答 本次回答由AI生成
      2025-12-06回复Song
登录 后发表内容