微信公众号内嵌h5页面调用了wx.chooseImage上传图片功能,wx.configo配置了,但是调起相机和相册功能前会报错:permission denied
代码片段:
wx.ready(() => {
wx.chooseImage({
count: 10 - imgsLen, // 默认9
sizeType: ['original'],
sourceType: ['album','camera'],
success: function(res) {
// alert('chooseImage,success')
reslove(res.localIds);
},
// fail: function(res){
// console.log('选择图片失败:' + res.errMsg);
// }
});
});
我看社区里很多这个问题,有没有大神帮忙解决一下。

同样遇到此问题 使用wx.uploadImg 第一次上传照片不超过五张 不报错 但是超过五张图片 就报permission denied 再次上传图片就正常
我也遇到了,请问已经解决了吗?
chooseImage我在h5页面也授权了。然后点击这个chooseImage都出不了选择框。是什么情况呢?还需要做什么处理吗
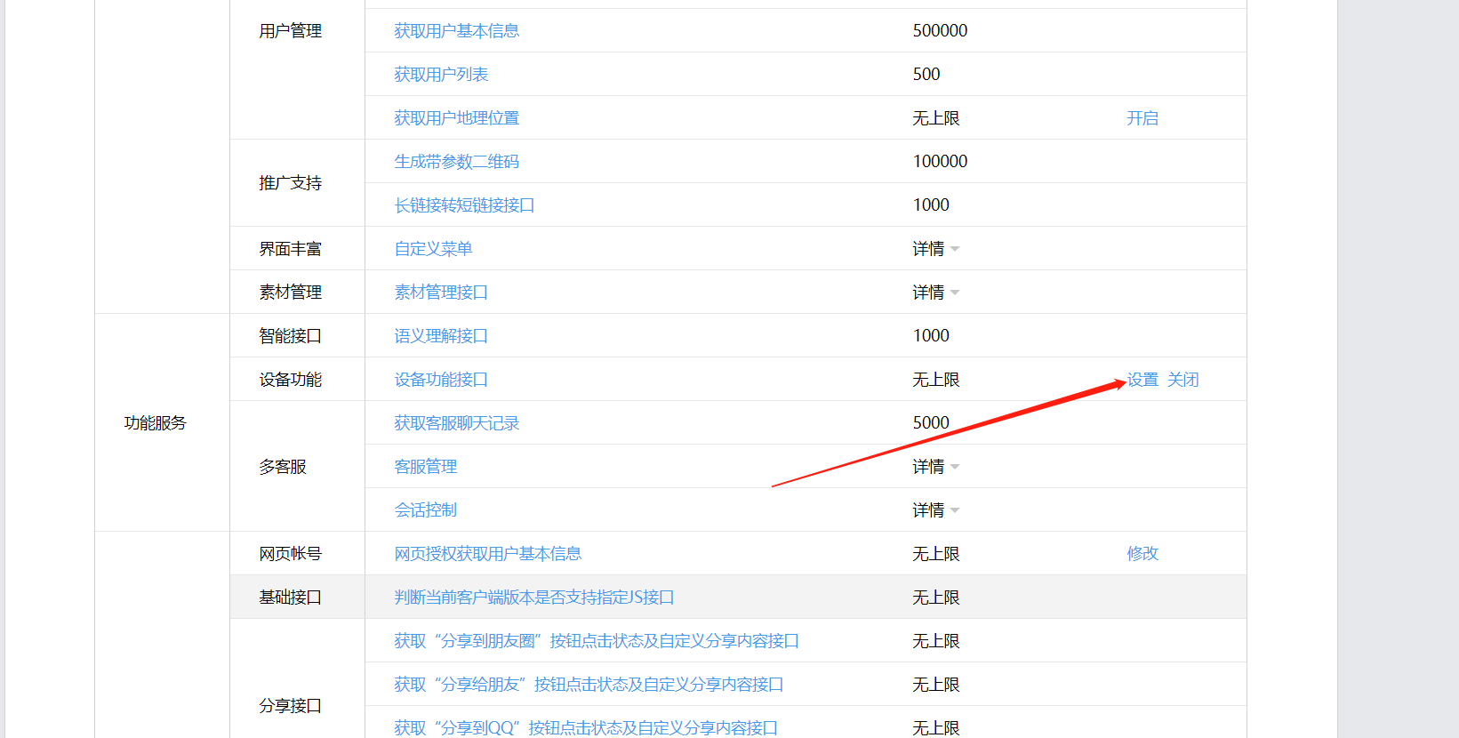
代码按照官网都没问题的,主要是 测试号里面,记得开启这个设备功能接口,这样就可以了
可以录屏上传个视频吗?我想看看具体怎么个场景下。
1、jsApiList : [ 'closeWindow','chooseImage' ]确定已经配置好了
2、签名是不是配置正确了,可以继续截图看看签名这里吗?