小程序
小游戏
企业微信
微信支付
扫描小程序码分享
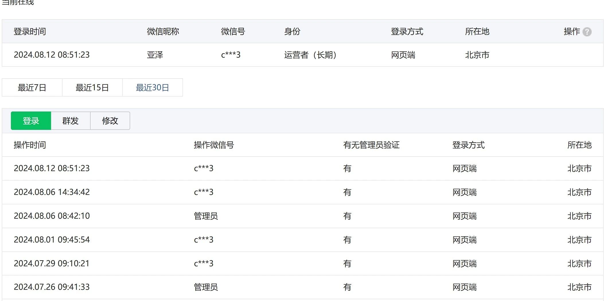
微信公众号显示IP地址在 江苏,实际运营主体在 北京,从一开始就是北京IP登录的,没有江苏登陆过,请管理员帮忙协助解决。
1.登录IP都是北京
2.发布地址显示
3.系统显示地址也是在江苏
1 个回答
加粗
标红
插入代码
插入链接
插入图片
上传视频
你好,当前IP属地按照微信认证主体登记地址固定返回
你好,麻烦通过点击下方“反馈信息”按钮,提供出现问题的。
关注后,可在微信内接收相应的重要提醒。
请使用微信扫描二维码关注 “微信开放社区” 公众号
你好,当前IP属地按照微信认证主体登记地址固定返回