小程序
小游戏
企业微信
微信支付
扫描小程序码分享
你好,请问附近小程序地点审核,审核周期是多久?通过什么形式反馈审核结果?
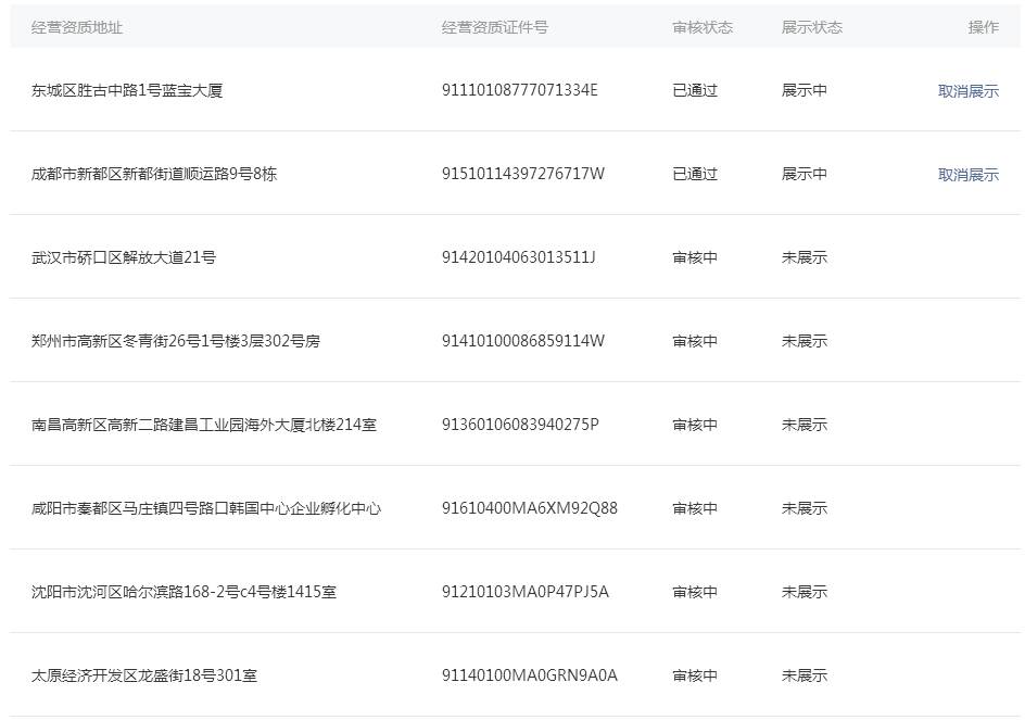
提交了10个点,审核通过2个,其他8个至今没有收到回复,大概已经2周了?
AppID(小程序ID): wxa81558c1d2207016 小程序名称:网库云采购
2 个回答
加粗
标红
插入代码
插入链接
插入图片
上传视频
请问你的都通过了吗,我递交了九家地址,都没通过,说资质填写错误,我看了和你填写的一样啊,并且都是与经营资质符合的,不知道为什么
你好,麻烦通过点击下方“反馈信息”按钮,提供出现问题的。
只有站内信通知,所以你需要每天都登录上去看看,如果资料没有重复,也会自动为你展示附近的小程序
关注后,可在微信内接收相应的重要提醒。
请使用微信扫描二维码关注 “微信开放社区” 公众号
请问你的都通过了吗,我递交了九家地址,都没通过,说资质填写错误,我看了和你填写的一样啊,并且都是与经营资质符合的,不知道为什么
只有站内信通知,所以你需要每天都登录上去看看,如果资料没有重复,也会自动为你展示附近的小程序