收藏
回答

已认证的服务号接口权限还需要哪些设置呢?

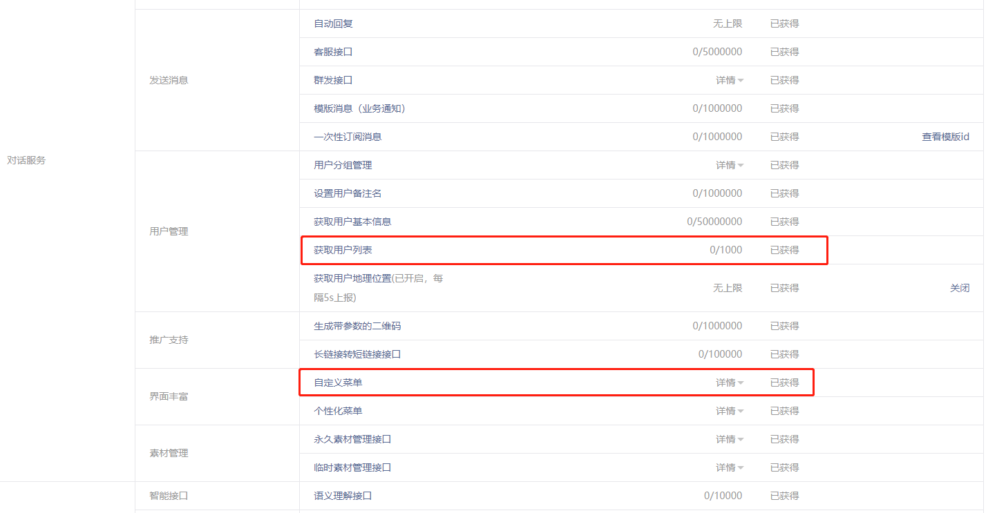
我的公众号是服务号,并且已经通过认证,在开发者接口权限里显示所有权限都是“已获得”,如图:


但是,无论我调用什么接口,比如自定义菜单,都会给我返回48001错误代码,提示api 功能未授权,请确认公众号已获得该接口,可以在公众平台官网 - 开发者中心页中查看接口权限,这是怎么回事呢?还有哪里需要设置呢?

回答关注问题邀请回答
收藏

2 个回答

  • Summer✨
    Summer✨
    2020-05-28

    你好,请提供你的公众号原始id或appid,调用的具体接口和返回代码等都提供下。


    2020-05-28
    有用
    回复
  • 空小胖
    空小胖
    2020-06-23

    问一下解决了么 我这边也是这个问题

    2020-06-23
    有用
    回复
登录 后发表内容
问题标签