为进一步提升小程序的安全性和用户体验,目前平台将对提审的小程序进行安全检测,以便能及时帮助开发者发现小程序可能存在的安全漏洞。
一、背景介绍
小程序在开发过程中若存在安全漏洞的情况,如敏感数据篡改、拖库信息泄露、WEB攻击等,容易造成小程序的安全隐患,可能带来代码易被反编译、核心业务逻辑被破译、算法易被二次打包等风险。因此,平台将对提审的小程序进行安全检测,以协助开发者提升小程序服务的安全性,同时开发者也应加强自身小程序安全漏洞监测能力,保证可及时消除潜在的安全风险。
二、审核过程
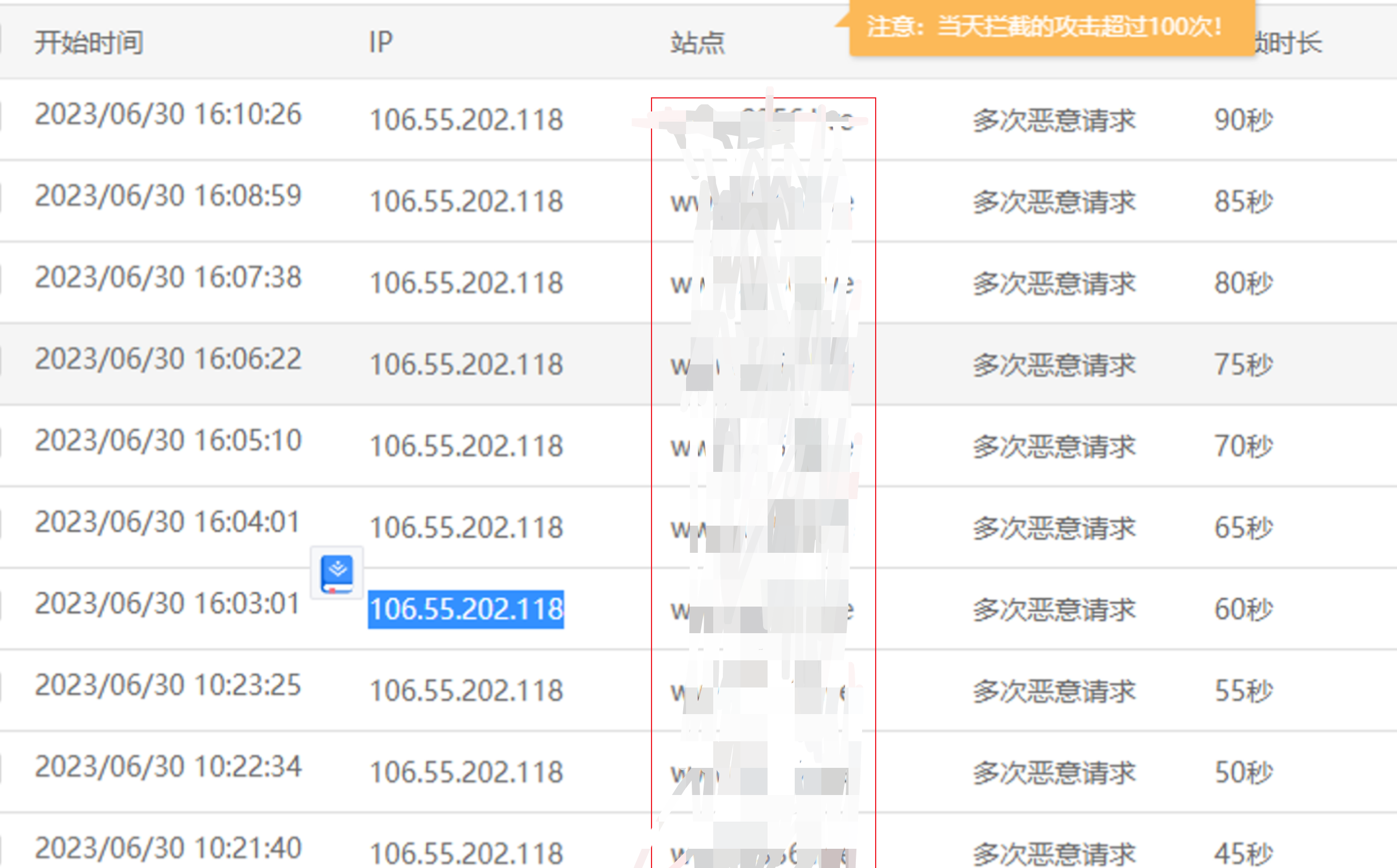
安全检测过程中,平台会模拟真实业务场景,向提审小程序的后台发送服务请求,服务器会收到来自平台(显示为:Tencent Security Team,请求IP为106.55.202.118;113.96.223.69;125.39.132.125;43.139.209.119)的请求。该请求均以较低速率进行,正常情况下不会影响小程序的正常服务。若确实出现了影响小程序正常业务的特殊情况,如用户无法进行小程序的正常访问,开发者可基于自身业务情况,对相应请求加以限频,如有其他疑问,欢迎随时通过官方社区进行反馈。
三、审核结果
安全检测的结果是小程序审核的重要参考。若小程序在安全检测中被检测到存在安全漏洞,该小程序的审核将不予通过。开发者可根据扫描报告中的修改指引,对安全漏洞进行相应修复后,再重新进行提审。
其他常见问题
Q1:可以选择不进行安全检测吗,是否会影响小程序代码提审结果?
A1:安全检测是小程序审核的环节之一,所有提审的小程序均需进行,若检测中发现安全漏洞或小程序故意采取措施规避检测,该小程序的审核将不予通过。
Q2:若在小程序代码审核已结束或审核已撤销的情况下,可以停止安全检测吗?
A2:若在小程序代码审核已结束的情况下,平台将持续进行未完成的安全检测直至完成,如有需要,开发者可通过平台提供的相应链接(在【小程序管理后台 → 通知中心】查看站内信即可)自行中止安全检测;若在小程序审核已撤销的情况下,平台将自动中止未完成的安全检测。
附表:安全检测内容详情

因为安全检测,导致政务云监测到sql注入攻击 ip被封。
无语啦,你们这个所谓的安全检测,直接把服务器给我刷爆了,服务器都直接报警了,都影响我正常用户的访问,我还是用户反馈小程序打不开了才知道遇到了腾讯这个安全检测,一直持续了2个小时,无语了!!!!!
6 直接把服务器打死了能不能我自己去决定是否接受你们所谓的安全监测,不要这么霸道可否
这个攻击测试频率太高了
我是说怎么回事,以为被谁攻击了
操差点以为遇到CC攻击了
假如提交的审核版本没通过安全检测,对线上运行的版本有什么影响吗?
点“继续提交”后就没有下文了,怎么回事?
收到了来自106.55.202.0/24这个C段的扫描,整个C段都属于扫描IP吗