接口:编辑客户企业标签
地址:https://qyapi.weixin.qq.com/cgi-bin/externalcontact/mark_tag?access_token=ACCESS_TOKEN
这个接口有时会无效,具体表现为接口返回消息为:{"errcode":0,"errmsg":"ok"},但是在后台查看该客户显示无标签,如图
接口日志:
req:{"userid":"Ji****in","external_userid":"wmH9**********************EF4g","add_tag":["etH94SDg*****************2SF3A"]}
ret:{"errcode":0,"errmsg":"ok"}
【***】为脱敏处理。

你好,可以提供具体的案例看看,提供下企业corpid 调用接口时间点 请求的内容这些看看
请求时间2021/01/10 12:52:28.168
请求内容和返回结果见图1(req:发送内容;ret:企业微信接口返回内容)
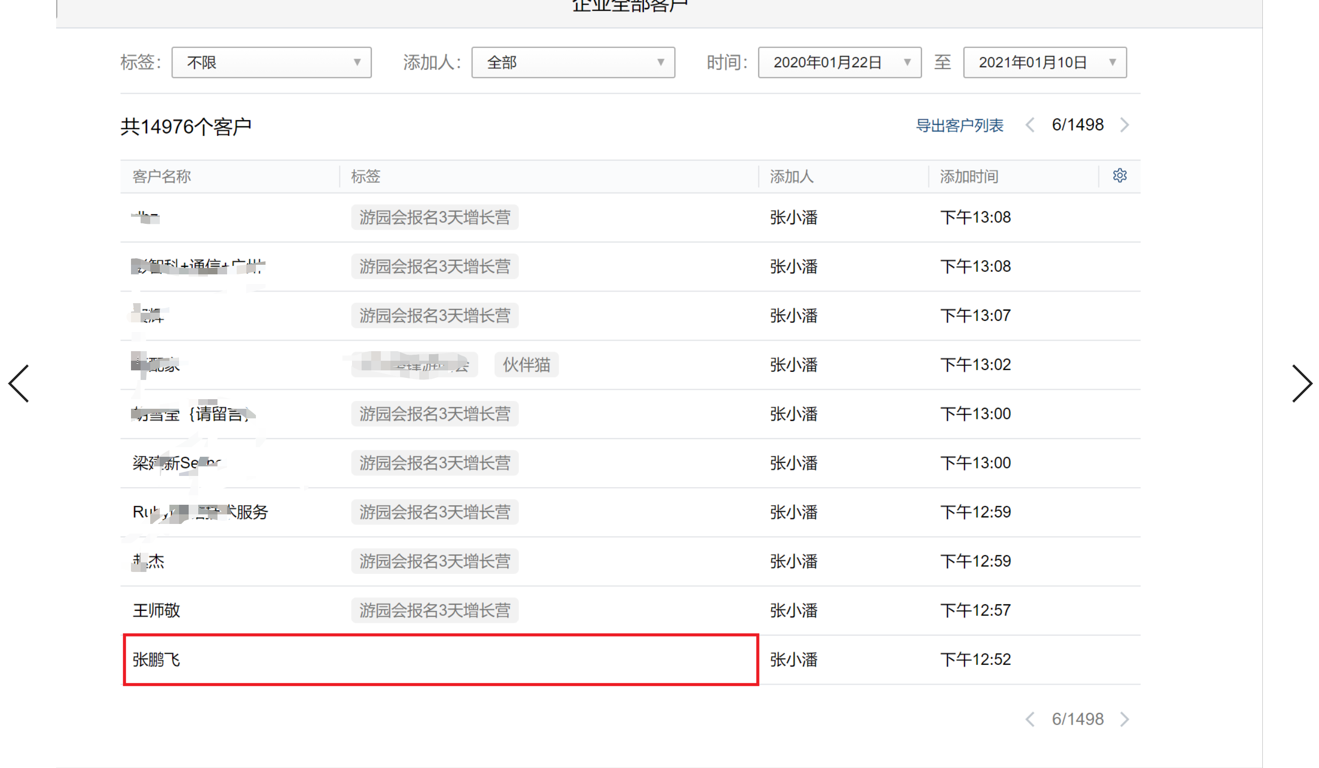
接口返回内容是成功,但是企业微信后台显示客户并没有标签,见图2(张鹏飞)
各位大佬请问此问题最后解决了吗
大家可以先确认下标签的id是否正确,我也是遇到这个问题,id就算错了,response也返回的成功
现在这个问题解决了吗? 还是遇到同样的问题
补充:并没有收到其他关于“客户变更事件”的消息,基本可以排除设置成功后又修改的情况,请核查!