小程序
小游戏
企业微信
微信支付
扫描小程序码分享
使用这个订阅消息y7YKE1XlnljUb4GPMQfk-viz9NTRlRpkuXdapoicHjM的时候,每次都是收到后台发给我的反馈
data.thing5.value invalid
哪里可以查到底是怎么invalid了??
1 个回答
加粗
标红
插入代码
插入链接
插入图片
上传视频
你可以写下日志,看下thing5是什么内容?
https://developers.weixin.qq.com/miniprogram/dev/api-backend/open-api/subscribe-message/subscribeMessage.send.html
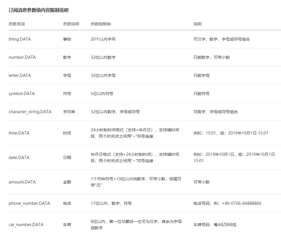
订阅消息对参数值是有要求的,如下图:
你好,麻烦通过点击下方“反馈信息”按钮,提供出现问题的。
关注后,可在微信内接收相应的重要提醒。
请使用微信扫描二维码关注 “微信开放社区” 公众号
你可以写下日志,看下thing5是什么内容?
https://developers.weixin.qq.com/miniprogram/dev/api-backend/open-api/subscribe-message/subscribeMessage.send.html
订阅消息对参数值是有要求的,如下图: