小程序
小游戏
企业微信
微信支付
扫描小程序码分享
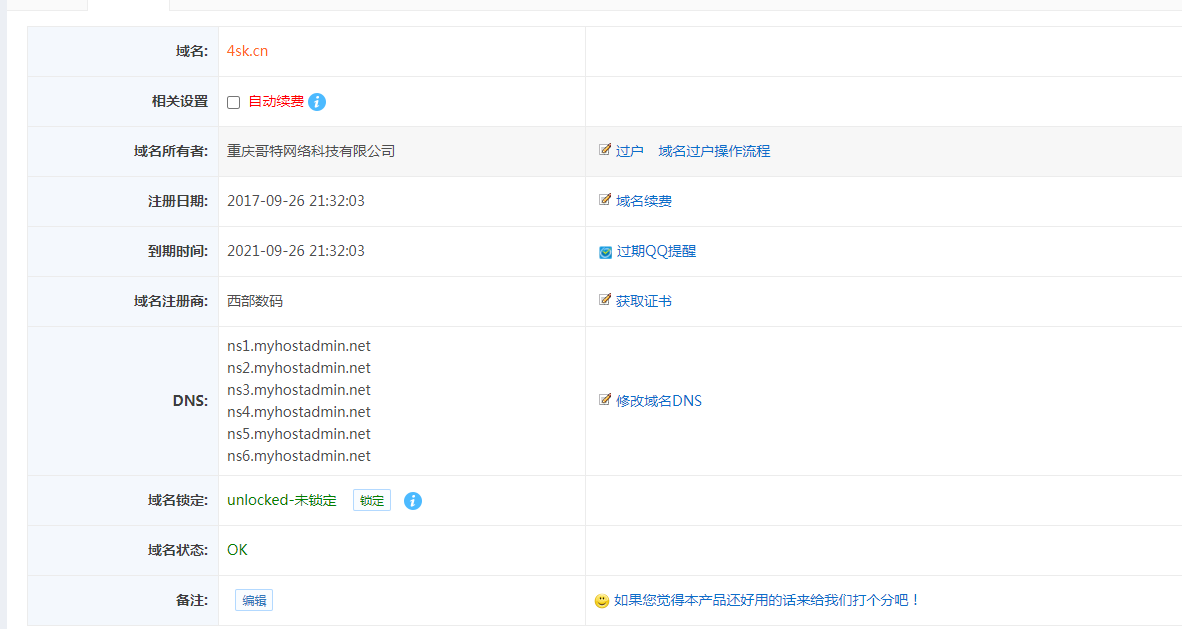
域名 http://4sk.cn被微信封了,说有诱导分享关注等内容,这个域名是我才注册的,才备案通过的域名,结果被封了,麻烦管理大大看下,谢谢,下面是注册时间 和备案审核时间
1 个回答
加粗
标红
插入代码
插入链接
插入图片
上传视频
你好,经核实域名4sk.cn的违规内容已经修改,现已恢复微信内直接访问的服务,请知悉。
你好,麻烦通过点击下方“反馈信息”按钮,提供出现问题的。
关注后,可在微信内接收相应的重要提醒。
请使用微信扫描二维码关注 “微信开放社区” 公众号
你好,经核实域名4sk.cn的违规内容已经修改,现已恢复微信内直接访问的服务,请知悉。