收藏
回答

【家长客诉】小程序自动挂断,一次接通率低,请协助分析?

【家长客诉】小程序自动挂断,一次接通率低,请协助分析?

小程序框架版本:wmpf-arm64-alpha-release-v1.1.0-657-signed-8.1.0.8

回答关注问题邀请回答
收藏

2 个回答

  • fans
    fans
    2023-06-07

    被叫方一直处于busy状态(接听原生通话or微信通话)导致主叫方打不进。

    插件在下一个版本(2.2.2)将修复busy事件不发送的bug

    2023-06-07
    有用
    回复 6
    • Cai.J.R
      Cai.J.R
      2023-06-15
      怎么确认插件更新到位?现在内部测试有2种情况:
      1、体验版小程序,话单能产生busy事件,但服务通知通话时长非0,显示通话时长18秒,终端现象就是闪退一下,没有任何友好提示,导致学生误解引起投诉
      2、正式版小程序,话单产生的是endvoip,但无收到来电服务通知,终端现象就是闪退一下,没有任何友好提示,导致学生误解引起投诉
      2023-06-15
      回复
    • fans
      fans
      2023-06-15回复Cai.J.R
      1. 产生busy事件的同事,会有个1.5s的toast,并且会跳转到开发者设置的页面
      2. 有具体case吗,听描述是crash了?
      2023-06-15
      回复
    • Cai.J.R
      Cai.J.R
      2023-06-15回复fans
      已在群提供相关xlog
      2023-06-15
      回复
    • Cai.J.R
      Cai.J.R
      2023-06-16回复Cai.J.R
      客户在等回复,请帮忙尽快确认,谢谢,
      终端视频体验视频可以单发,对学生来说,就是呼叫不了,没有友好提示,如对方用户忙
      2023-06-16
      回复
    • fans
      fans
      2023-06-16回复Cai.J.R
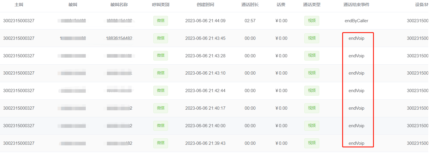
      1. 从提供的xlog中看到,已确认是2.2.2版本插件。
      2. 6.15有3次走到了busy。且有看到具体的toast出现。
      [2023-06-15 +80 11:02:06.113]
      [2023-06-15 +80 11:04:11.297]
      [2023-06-15 +80 17:11:17.319]
      3. 图片所示6.16房间endvoip事件,确认是busy导致结束
      2023-06-16
      回复
    查看更多(1)
  • Cai.J.R
    Cai.J.R
    2023-06-07

    主叫:3002315000327被叫:159*****347

    2023-06-07 15:59:38 2023-06-07 15:56:58

    同事在现场测试,微信是空闲的,但也接听不起来,内部日志分析还是小程序自己挂断了;已提供xlog和用户微信日志


    2023-06-07
    有用
    回复 1
    • Cai.J.R
      Cai.J.R
      2023-06-07
      2023060717:26 备注
      2023-06-07
      回复
登录 后发表内容
问题标签