服务号对话能力6月16日迭代更新了MP端、API端、小程序端,添加了顾问新增确认环节,上线了“服务号小助手”模板消息推送能力。
具体更新如下:
1、服务号添加新手顾问时新增“邀请确认”环节。顾问可通过“服务通知”进入确认成为服务号顾问,新增流程将提升新手顾问对身份的认知。
顾问需在收到添加邀请的24小时内点击微信发送的通知进行确认,过时将失效,服务号运营者需再行发起顾问添加邀请。详情可查阅《产品文档》
(点击“我知道了”,才可成功关注“服务号小助手”)
商户如何快速获取新顾问的确认添加邀请状态?
- MP:对话能力(原导购)-顾问管理-人员管理的列表中,顾问还未确认的,会显示“顾问待确认”;顾问已确认的,会显示该顾问的微信号;顾问超过24h还未确认的,会显示“顾问24小时未确认”,且要进行重新绑定。
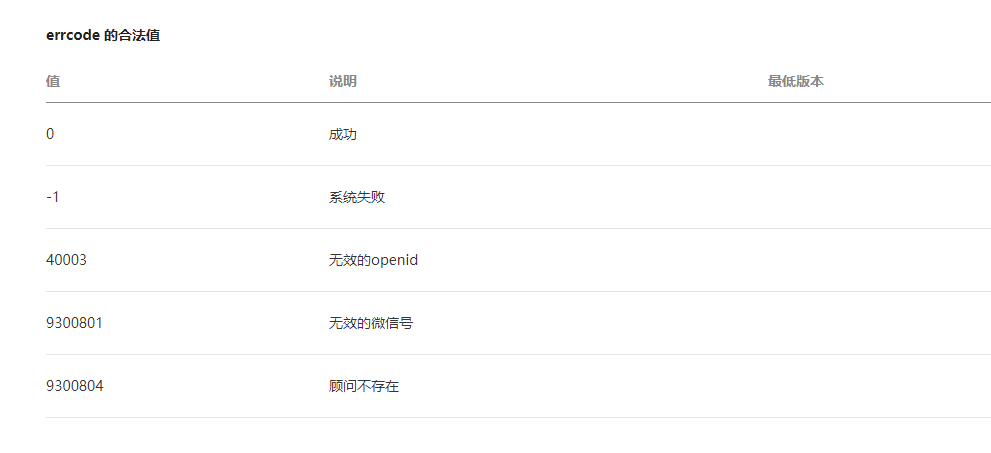
- 接口:可通过shopping-guide.getGuideAcct这个接口获取,返回的errcode字段即是新顾问的确认添加状态。详情请查阅《接口文档》。
2、顾问关注 “服务号小助手”公众号后,可通过该公众号接收五类消息通知,提升顾问接收及处理消息效率。未关注状态下,顾问将通过“服务通知”接收相关消息。详情可查阅《产品文档》
- 新顾问添加通知
当用户被服务号添加为顾问时,将触发该消息通知。
点击通知,将跳转至邀请详情页。
- 顾问移除通知
当顾问被服务号移除顾问关系时,将触发该消息通知。
- 新客户绑定通知
当顾问通过顾问码、分组码、微信广告获得了新客户绑定时,将触发该通知(商户通过MP或者接口分配的粉丝,不会触发该通知)。
点击通知,将跳转至小程序内与该客户的一对一会话页。
- 客户咨询通知
当顾问收到客户的咨询消息时,将触发该通知(顾问接收消息时在小程序内,将不触发该通知)。
点击通知,将跳转至小程序内与该客户的一对一会话页。
- 群发任务通知
当顾问收到公众号的群发任务时,将触发该通知。
点击通知,将跳转至小程序内群发任务页,顾问“点击接受”即可执行群发任务。
攻略须知:
服务号可指引顾问收藏必用两大工具,方便快速找回:
1、“服务号小助手”公众号日常发布顾问使用教程以及为顾问推送各类消息。顾问可通过右上角“…”置顶“服务号小助手”公众号,不漏过客户咨询消息。服务号也可指引顾问通过搜一搜“服务号小助手”快速找到公众号。
2、“服务号对话助手”小程序是微信提供的移动端工具。顾问可以通过“添加我的小程序”收藏该小程序,方便在微信首屏下拉时快速找到并访问。服务号也可指引顾问通过搜一搜“服务号对话助手”快速找到。
tip:
如果你有寻找服务商帮忙运营服务号对话能力的需求,可以在服务号对话能力服务商专区的平台上寻找
延展阅读:
服务号对话能力6.2更新 | MP后台数据看板、群发任务单功能上线
5月22日服务号对话能力(原微信导购助手)周迭代版本,支持文字素材最多300字

哪位大大帮我看看啊,谢啦!我们公众号开通了对话功能、广告主,也添加好了顾问老师,但是现在做微信广告推广公众号时,创意里没有导购助手选项啊(没有图中的这个选项)?做微信广告时还需要什么申请吗?